深圳市步步精科技有限公司荣获发明专利,彰显技术研发实力
2024年8月13日,深圳市步步精科技有限公司(BBJconn)正式获得了其新开发的防水连接器专利,授权公告号为CN 118352837 B。这项技术的突破标志着公司在连接器领域的持续创新,进一步巩固了其行业领先地位。
专利技术概述
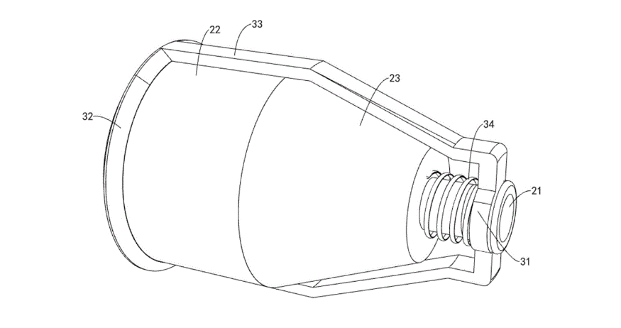
此次专利涉及一种新型防水连接器,主要由连接器主体、两螺纹套和第一密封圈构成。其设计精妙,连接器主体两端分别设有接口,网线接头可以轻松插入。同时,连接器主体外侧设有螺纹,确保螺纹套的牢固连接。这一设计不仅提升了连接的防水性能,还使得拆装过程变得更加便捷。特别是密封环的设置,能有效防止水分侵入,确保在各种恶劣环境下的稳定性能。

研发实力的体现
步步精科技始终将技术研发视为公司发展的核心驱动力。目前,公司已拥有132项技术专利,另有20多项专利正在测试中。这些成就不仅体现了公司在技术创新上的不断追求,也展示了其强大的研发团队和市场洞察力。

公司在防水连接器领域的探索与实践,正是其技术实力的最佳证明。步步精科技深知,创新是企业发展的生命线,在未来的发展中,公司将继续加大研发投入,进一步深耕技术领域,为行业进步贡献自己的力量。
展望未来
展望未来,深圳市步步精科技有限公司将一如既往地坚持技术创新,以满足市场日益增长的需求。公司计划在防水连接器及其他领域推出更多创新产品,进一步提升行业标准。


通过不断的努力与进取,步步精科技不仅将为客户提供更优质的产品和服务,同时也将推动整个连接器行业的发展,助力科技进步与社会发展。
此次发明专利的获得,无疑为步步精科技的发展注入了新的动力。随着技术的不断成熟与市场的不断扩大,步步精科技定将谱写出更加辉煌的篇章。



