步步精科技:信号连接器领域的技术创新与发展
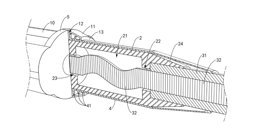
深圳市步步精科技有限公司近日喜获一项发明专利授权,进一步巩固了其在连接器技术领域的领先地位。本次获得授权的专利是“信号连接器”,其创新性和实用性为步步精科技在信号传输设备的研发和制造中注入了全新动力。
更多
2024慕尼黑华南电子展圆满结束,步步精科技成就斐然
2024年10月14日至16日,2024慕尼黑华南电子展成功落幕。步步精科技(以下简称“步步精”)在本次展会上取得了圆满成功。作为一家以技术驱动的连接器制造商,步步精凭借创新的产品和技术方案吸引了广泛
更多
步步精科技携高端产品亮相2024慕尼黑华南电子展,诚邀参与
我们诚挚地邀请您参加即将于2024年10月14日至10月16日在深圳国际会展中心(宝安新馆)举办的慕尼黑华南电子展(electronica South China)。本届将聚焦人工智能、数据中心、新型
更多
深圳连接器展圆满落幕,步步精科技展现技术实力
2024年8月28日至30日,深圳国际连接器、线缆线束及加工设备展成功落幕。步步精科技(以下简称“步步精”)在本次展会上取得了显著的进展,作为连接器行业的重要制造商,步步精以其创新的产品和技术方案吸引
更多
深圳市步步精科技有限公司成功获得插头结构及电连接器发明专利
2024年8月20日,深圳市步步精科技有限公司(以下简称“步步精”)喜讯传来,公司申请的“插头结构和电连接器”专利(授权公告号CN 118399121 B)正式获得授权。这项创新的插头结构在数据线连接
更多
深圳市步步精科技有限公司荣获发明专利,彰显技术研发实力
2024年8月13日,深圳市步步精科技有限公司(BBJconn)正式获得了其新开发的防水连接器专利,授权公告号为CN 118352837 B。这项技术的突破标志着公司在连接器领域的持续创新,进一步巩固
更多








